start:cистема_подачи_топлива
Это старая версия документа!
Содержание
Система подачи топлива
Штатные параметры:
Размер диффузора: 34 мм.
Жиклер холостого хода: 32
Основной топливный жиклёр: 135
Дозирующая игла установлена на 2-е деление от верха.
Общий вид жиклёров:
Примечания:
В связи с тем, что карбюратор не имеет ускорительного насоса, у большенства владельцев crosstrec 300 наблюдается провал при резком открытии газа, то есть это норма.
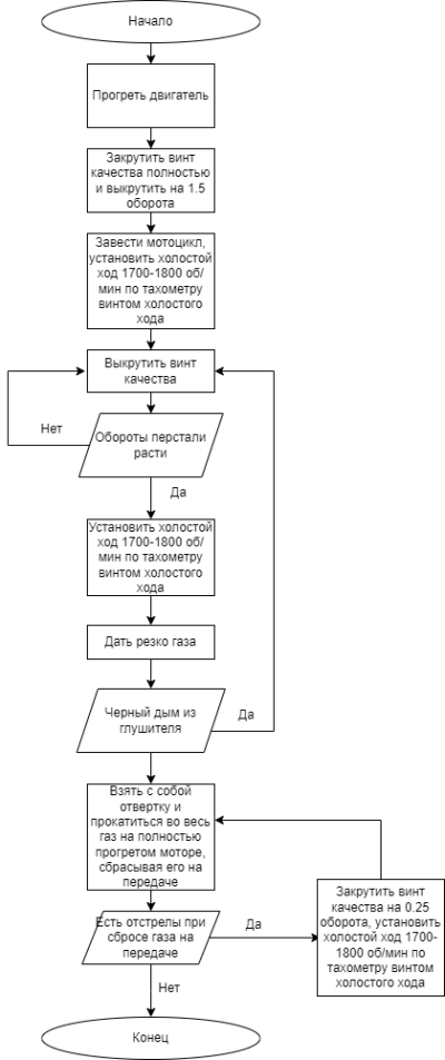
Методика настройки карбюратора:
start/cистема_подачи_топлива.1724127843.txt.gz · Последнее изменение: 2024/08/20 04:24 — leonovms




